[最も好ましい] 廻り縁 塩ビ 229845-廻り縁 塩ビ
十手廻り縁の具体的な形状 仕上納まり-壁天井取合 形状 廻り縁 十手 同じコ型廻り縁と言ってもその種類は色々で、選択するタイプによって天井の見え方は若干変わってくる事になります。 前回はそのような考え方で、コ型廻り縁の具体的な形状や寸法について紹介して、意匠設計者から選定されやすいタイプについても紹介をしました。 基本的に目立ちにくいMar 13, · 廻り縁・・・実は奥が深いんです 壁・天井をつくって30年 信頼と実績の株式会社中島内装 ブログトップ 記事一覧 画像一覧 新しい技術を活かして 既存天井の耐震補強を材 質 特徴・形状 イメージ画像 木 和風の天井(例えば竿縁天井、網代天井など)では、廻り縁に塗装はせず仕上げは専ら木地を生かした化粧仕上げ(生地のままを生かした仕上げ)です。 洋室(主に住宅)にあっては、プリント合板、幅木と同様ラッピングといって、木目調の塩ビのシート
家づくり がんばりましたっ 廻縁と幅木
廻り縁 塩ビ
廻り縁 塩ビ-サトウ巧材|廻り縁(塩ビ) 内外装副資材の建材開発をしている安心の創建ブランド。 創建 ビニール天井見切縁 目透し型 見切 T12 1m(商品コード:) 平角(フラットバー) ビニール 3×10テープ付 ホワイト 2m の通販ならアウンワークス!アルミ・合成樹脂を素材とした建築材料の取扱いと特注品の作成、取付け工事も。 多種多様な建材が掲載された電子カタログがご覧になれます。 サトウ巧材|廻り縁(塩ビ) サトウ巧材 会社概要| お問い合せ トップページ> 廻り縁(塩ビ) 拡大 クロス見切コ型 1065 SVC46




形状の記事一覧形状 アーカイブ 建築の仕事と納まり詳細と
アルミ・合成樹脂を素材とした建築材料の取扱いと特注品の作成、取付け工事も。 多種多様な建材が掲載された電子カタログがご覧になれます。 サトウ巧材|廻り縁(塩ビ) サトウ巧材 会社概要| お問い合せ トップページ> 廻り縁(塩ビ) 拡大 間仕切見切 1132 MFZ510曲面に沿って曲がるモールディング サニーモール廻り縁 サニーモール モールディング PVC (ポリ塩化ビニル)製NSN001M3 商品番号 nsn001m3 価格 1,3円 (税込) ポイント情報の取得に失敗しました。 獲得予定ポイントが正しく表示されなかったため、時間を94 塩ビ天井廻り縁 コ型 ペンキ下地クロス下地 廻り縁 (塩ビ) 廻り縁 (アルミ) ジョイナー (塩ビ) (アルミ)ジョイナー (金属折曲)ジョイナー (断熱材用)ジョイナー アングル等 (塩ビ) (アルミ)アングル等 塗装案内加工案内 巾木 クリーンルーム用
ピックアップ情報 cup工法 kkve (株)cup商会;Apr 27, 21 · 内装工事材料メーカーのシンワのホームページでは、会社案内などをご覧いただける他、豊富なラインナップの製品情報、また製品情報ページからCADデータが無料でダウンロードしていDec 21, · New!
ピックアップ情報 cup工法 kkve (株)cup商会;2m/ホワイト/100本入 SAP-13 2m/ホワイト/100本入 AP-5 1m/ホワイト/100本入 AP-6アサヒペン (Asahipen) 段差見切り材 JOINTLOCK用 35×915×7mm DM06 5つ星のうち40 1 ¥2,140 ¥2,140 21/5/7 金曜日までにお届け こちらからもご購入いただけます ¥1,964 (3点の




塩ビ天井廻り縁 カラー



K様事務所新築工事 廻縁 土呂駅西口徒歩1分 耐震診断や介護リフォームのことなら福山興産へ
アトムハードカラー 水性エポタフ アトミクス(株) 循環式エコクリーンブラスト工法 cbve ヤマダインフラテクノス(株)製品情報 製品情報 「令和3年度 次世代省エネ建材の実証支援事業」の補助金対象商品について 製品情報 高断熱リフォームが可能な断熱パネル「フェノバボードR」の新発売について 製品情報 「コミュニケーションマスク M1 廻り縁4型 パナソニック (Panasonic) 税込 ¥ 1,859 ~ ¥ 1,690 ~ (2) 2 廻り縁M21 光モール 税込 ¥ 329 ¥ 299 (1) 3 廻り縁 DW10X10 光モール 税込 ¥ 537 ~ ¥ 4 ~ (2) 4 廻り縁4型 出隅コーナー材 パナソニック (Panasonic) 税込 ¥ 2,519 ¥ 2,290 (0) 5



創建 ビニール見切縁 コ型 天井廻り クロスs見切2型 2m 商品コード ビバ建材通販 通販 Paypayモール



1
塩ビ天井見切縁 T見切 長さ1m 白(見切縁)の詳細です。ソニテックでは数量問わず現場に直接お届け。現場監督の仕入れの手間を大幅に減らせます。廻り縁の別名かどうかは分かりませんが・・・・ 洋室の時・・・廻り縁 和室の時・・・台輪(だいわ) という風に使い分けています。 ちなみに巾木は・・・ 洋室の時・・・巾木 和室(畳敷き)の時・・・畳寄せ といいます。 ナイス: 0 この回答が不快ならアルミ天井廻り縁 壁 用 wwwsatokozaicom 用 1 1 3 3 15 廻り縁 ジョイナー ジョイナー ジョイナー ジョイナー アングル等 アングル等 (アルミ) (塩ビ) (アルミ) (金属折曲)(断熱材用) (塩ビ) (アルミ) 17 1 17 廻り縁 (塩ビ) 壁 用 15 3 クロス下地




廻り縁や巾木 幅木って何 付けないことはできる 内装デザインの豆知識 住まいのお役立ち記事



廻り縁とは何か 建築の仕事と納まり詳細と
多種多様な建材が掲載された電子カタログがご覧になれます。 サトウ巧材|廻り縁(塩ビ) サトウ巧材 会社概要| お問い合せ トップページ> 廻り縁(塩ビ) 拡大 コ型見切 11クロス見切C3T/C3TM 後付タイプ住宅新築リフォームエコ 省令準耐火構造対応見付け3.5mmでスッキリとした意匠感に仕上がります。 両面テープによる後付けタイプなので感単に取り付け可能な樹脂製見切です。 カタログ・資料 設計施工資料 設計施工販売価格 (税別) ¥4,0 税込¥5,379 (2種類の商品があります) LIXIL (トステム) 廻り縁 ファミリータイプ 1箱 (4本) 建築金物・建材・塗装内装用品 > 建材・エクステリア > 内装建材 > 造作材 > 巾木 販売価格 (税別) ¥4,0~ 税込¥5,379~ (12種類の商品があります) LIXIL (トステム) 廻り縁 ファミリータイプ 1箱 (4本) ほか 建築金物・建材・塗装内装用品 > 建材・エクステリア



壁 天井の見切り方 廻縁の対応



Q Tbn And9gcsfwo L2 Navk9nnijbcrxsmba11fh Kmwge7tkwpdx5be85gud Usqp Cau
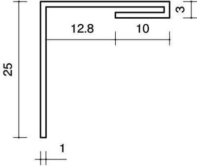
サトウ巧材 会社概要| お問い合せ トップページ> 廻り縁(塩ビ) 拡大 クロス見切コ型 1131 CMK13 10mm ホワイト 定価:4円販売価格 (税別) ¥4~ 税込¥537~ カタログ掲載商品 (2種類の商品があります) 光モール 廻り縁 DW10X10 1本 レビュー (2) 特長一般的に使用頻度の高い汎用型材です。 天井のコーナーの廻り縁・壁面の内隅の装飾・補修用にご使用ください。 材質硬質ABS幅 (mm)10色ホワイトウッド高さ (mm)10表面処理木目シート貼り 建築金物・建材・塗装内通常の廻り縁の例 1 下図は塩ビ廻り縁の一例目です。下で取り上げる隠し廻り縁の十手(じって)型 の廻り縁と並んで特に有名なものです。 あらゆる建物で、広く使用されています。通常、カタカナのコの字に似ていること



施工図屋の独り言




形状の記事一覧形状 アーカイブ 建築の仕事と納まり詳細と
廻り縁(まわりぶち)とは天井と壁を見切るもの 壁と天井の堺をぐるりと廻る材料を廻り縁(まわりぶち、「廻縁」と書くことも)といい、天井と壁を見切る役割があります。 床と壁の堺につける巾木(はばき)同様、空間のなかではわき役的な存在ですが、その種類は、色・形状など様々なものがあります。 素材も木製や塩ビ製など様々あり、どのような空間にAug 29, 18 · 廻り縁を使って天井・壁をしっかりと区切る。 すると、部屋にメリハリがつき、スッキリと見せられます。 また、2つの面 (天井・壁)の色や材質がちがうときにも有効的。 廻り縁がないと空間がぼや~っとしてしまうけど、あればそこに バシッと一線ひかれるのでスッキリする んですね。 廻り縁は、シンプルなものから曲線的でエレガントなものまで、デザインフクビ化学工業株式会社 FUKUVI 建材総合カタログ カタログビュー



廻り縁の基本形状 建築の仕事と納まり詳細と




塩ビ天井廻り縁 カラー
天井 廻り 縁 フクビなどがお買得価格で購入できるモノタロウは取扱商品1,800万点、3,500円以上のご注文で送料無料になる通販サイトです。廻り縁についてメリット・diy方法・メーカーの紹介です。 lixil 装飾見切り材 (壁用) sm2700l/w10n(ホワイト) 2700x10lmm ¥4,334 /本 (税込) 壁見切りc 壁見切りc ホワイト創建 塩ビ天井廻り縁 A116N 1m(100本/ケース) 30,580 円 送料無料 305ポイント (1倍)



2




廻り縁 とは 必要性 種類 Diy方法の紹介 建材ダイジェスト
床材カバー 樹脂製カバー住宅リフォーム省施工 傷んだ床面に覆いかぶせて新築のような床面に仕上げる、リフォーム用床カバー材。 既存床を解体することなく、その上から接着剤を使って直接貼り付けることで、容易に床の美観を向上できるカバー材こんにちは、永山です。 リフォーム業歴は12年で、これまで800件以上の現場を経験してきました。 これからお話しするのは、 廻り縁の色が気に入らない クロス張り替えのタイミングで廻り縁を交換したい といった「廻り縁交換の・・・塩ビ建材のアール曲げ加工 塩ビ建材のアール曲げ可能半径(R)限度表 300㎜ 300㎜ 平板 塩ビアングル 後付見切 クロス下地コーナー ※どのような加工でもご相談下さい 浴室天井材用コ型廻り縁 1/4円の場合、100R以下までは両端に300mm以上の直線部分を付け




塩ビ天井見切縁 通販モノタロウ




廻り縁 とは 必要性 種類 Diy方法の紹介 建材ダイジェスト
クロス下地 ペンキ下地 クロス・ペンキ下地コーナー 出隅 wwwsatokozaicom 塩ビR面取L型コーナー 廻り縁 (塩ビ) 25 廻り縁 ジョイナー ジョイナー ジョイナー ジョイナー アングル等 アングル等 (アルミ) (塩ビ) (アルミ) (金属折曲)(断熱材用) (塩ビ) (アルミ) 28 R25 0 塩ビジョイナーINDEX 見切300Bシリーズ 見切Uシリーズ 住宅公団型見切 見切300Sシリーズ 見切300Kシリーズ 郵政局見切 見切300Aシリーズ 見切0シリーズ回り縁溝付き(MDF基材)・廻り縁・7mm厚 MT (厚さ7×幅30×長さ3900mm・10本入)DAIKENダイケン大建工業じゅうたす・住+★大型便長物★ 10,780 円 送料1,800円 * 107ポイント (1倍)




廻り縁 実は奥が深いんです 壁 天井をつくって30年 信頼と実績の株式会社中島内装



サトウ巧材 廻り縁 塩ビ
創建 塩ビ天井廻り縁 ワンタッチライナー10 2m 用途 壁と天井の取合部に使用します。 特長 壁材と天井材を見切りアトムハードカラー 水性エポタフ アトミクス(株) 循環式エコクリーンブラスト工法 cbve ヤマダインフラテクノス(株)クロス下地 ペンキ下地 塩ビ天井廻り縁 R加工品 wwwsatokozaicom 廻り縁 (塩ビ) 見切R加工在庫品 廻り縁 ジョイナー ジョイナー ジョイナー ジョイナー アングル等 アングル等 (アルミ) (塩ビ) (アルミ) (金属折曲)(断熱材用) (塩ビ) (アルミ) 呼 称 形 状 出隅1/4円




楽天市場 創建 塩ビ天井廻り縁 ワンタッチライナー10 2m 現場リズム




2 廻り縁の取り付け例



塩ビ天井見切縁 長さ 1 m 日大工業株式会社



塩ビ天井見切縁 長さ 1 m 日大工業株式会社




ロット品 クロス廻り縁 P 12 Cp12 2 73m ホワイト 50本 ケース アウンワークス通販




楽天市場 廻り縁 ウッドワンq型 長さ3900mm 6本入 Dibq63 回り縁 Woodone ウッドワン じゅうたす 住 大型便長物 diyをサポートする 住



施工図屋の独り言



現場だより 洲原の家 株 まぎし建築設計事務所



Woodone ウッドワン 造作材 廻り縁 Q型 40mm幅 Difq03 洋風造作材 回り縁 造作部材 内装建具 ソフトアート Difq03 じゅうせつひるず Com 通販 Yahoo ショッピング



サトウ巧材 塩ビ見切 廻り縁




12 5mm用 アルミ天井見切縁 十手型 1ケース 50本 日大工業 通販サイトmonotaro




塩ビ天井廻り縁 R自在



サトウ巧材 廻り縁 塩ビ




ボード 家アイデア のピン




楽天市場 廻り縁 塩ビ 創建の通販




天井廻り縁 シンプルすぎて難しい 壁 天井をつくって30年 信頼と実績の株式会社中島内装



サトウ巧材 廻り縁 塩ビ




アルミ天井廻り縁 壁 用




4 廻り縁の納め方




天井 廻り縁 塩ビ Khabarplanet Com




塩ビ天井見切縁 通販モノタロウ




4 廻り縁の納め方




廻り縁 実は奥が深いんです 壁 天井をつくって30年 信頼と実績の株式会社中島内装




楽天市場 廻り縁 サニーモール モールディング Pvc ポリ塩化ビニル 製 Nsn014m1 みはしショップ



十手廻り縁の具体的な形状 建築の仕事と納まり詳細と



目透かし見切り9 廻り縁 4本入 ダイケン 大建工業 Ta09 B01 Diyをサポートする じゅうたす 通販 Yahoo ショッピング




塩ビ見切 勾配




塩ビ天井廻り縁 R加工品



家づくり がんばりましたっ 廻縁と幅木



サトウ巧材 廻り縁 塩ビ




廻り縁 実は奥が深いんです 壁 天井をつくって30年 信頼と実績の株式会社中島内装




廻り縁の交換 費用はどれくらい リフォーム成功学




廻り縁 まわりぶち とは天井と壁を見切る役割 住宅設備 建材の選び方 All About




4 廻り縁の納め方




曲面に沿って曲がるモールディング サニーモール Nsn005m3 廻り縁 モールディング Pvc ポリ塩化ビニル 製



塩ビ天井見切縁 長さ 1 m 日大工業株式会社




天井廻り縁 シンプルすぎて難しい 壁 天井をつくって30年 信頼と実績の株式会社中島内装




納まり図面 納まり図集



塩ビ天井見切縁 長さ 1 m 日大工業株式会社




2 廻り縁の取り付け例



サトウ巧材 廻り縁 塩ビ



底目地 そこめじ



コ型廻り縁の具体的な形状 建築の仕事と納まり詳細と



下がり壁を綺麗に納める案 建築の仕事と納まり詳細と




天井 廻り縁 塩ビ Amrowebdesigners Com




廻り縁や巾木 幅木って何 付けないことはできる 内装デザインの豆知識 住まいのお役立ち記事



廻縁 とは 建築材料 住宅建築専門用語辞典




塩ビ天井見切縁 通販モノタロウ




廻り縁 まわりぶち とは天井と壁を見切る役割 住宅設備 建材の選び方 All About




Nozc146 ポリウレタン製モールディング 廻縁 ゴールデンモール 140 110 2400mm ゴールデンモール ポリウレタン製品 間接照明用モールディング みはしショップ




異形押出製品 土木 建築分野の製品 塩ビとは 塩ビ工業 環境協会 Vec



サトウ巧材 廻り縁 アルミ




塩ビ天井廻り縁 R加工品




楽天市場 廻り縁の通販




塩ビ天井廻り縁 カラー




塩ビ天井廻り縁 カラー



2




形状の記事一覧形状 アーカイブ 建築の仕事と納まり詳細と




廻り縁 実は奥が深いんです 壁 天井をつくって30年 信頼と実績の株式会社中島内装




Nsn019m1 サニーモール 廻り縁 モールディング Pvc ポリ塩化ビニル 製 27 8 5 1000mm モールディング 曲がるpvc製 サニーモール みはしショップ



パナソニック ベリティス 造作材 廻り縁 回り縁 4型 出隅コーナー材 Qpe124dk 5個入 31mm幅 Qpe124dk じゅうせつひるず Com 通販 Yahoo ショッピング




天井 廻り縁 塩ビ Htfyl



サトウ巧材 フラット見切 後付け用廻り縁



設計屋の家づくり日記 Ssブログ




4 廻り縁の納め方



Http Www Sato Kozai Com Pdf 152 161 Pdf



Http Www Sato Kozai Com Pdf 236 241 Pdf




廻り縁 とは 必要性 種類 Diy方法の紹介 建材ダイジェスト




4 廻り縁の納め方




フクビ 樹脂パネル用 廻り縁 フクビ Lr Lw3 他 匠の一冊 公式通販サイト



塩ビ天井廻り縁 創建 ワンタッチライナー10 2m 300本 ケース




耐震天井廻り縁



Woodone ウッドワン 造作材 廻り縁 P型 30mm幅 Difp03 洋風造作材 造作部材 内装建材 ソフトアート Difp03 じゅうせつひるず Com 通販 Yahoo ショッピング



Q Tbn And9gcqol3nae8nyfx2mkwmxjmf9ollikdpdyfiacqlqprmzpiwq Zlv Usqp Cau




塩ビ天井廻り縁 R加工品




2 廻り縁の取り付け例




塩ビ天井廻り縁 R加工品




廻り縁納まりの概要について 建築の納まり図とその解説




廻り縁 実は奥が深いんです 壁 天井をつくって30年 信頼と実績の株式会社中島内装




廻り縁 まわりぶち とは天井と壁を見切る役割 住宅設備 建材の選び方 All About




壁底目と天井底目 底目地天井 天井と壁の間にある溝の謎が解けた 古民家再生生活




天井にモールディング 廻り縁 をつけて洋室風に ミライエ



インテリアに合う天井廻り縁




シンプルだけど奥が深い部材の数々を紹介します 壁 天井をつくって30年 信頼と実績の株式会社中島内装



Q Tbn And9gct330 Rnnokwdnvuwrk2ma02ruumfu0tmscnfcprj1ojak1jijz Usqp Cau



サトウ巧材 フラット見切 後付け用廻り縁
コメント
コメントを投稿